產品導航
Product navigation
當前位置:首頁 > 技術資料 > 多斗板組件式提升機設計及制造技術
多斗板組件式提升機設計及制造技術
發布人:新鄉天太斗式提升機廠家 發布時間:2020-02-09
背景技術:
本技術涉及斗提機技術領域,具體為一種斗式提升機,該機是通過料斗和鏈輪的配合實現上下運輸物料的,因此料斗和鏈輪之間的連接必須牢靠穩定,現有技術中通常采用焊接或螺栓連接,這樣的連接方式,適用于運輸重量較小的物料,一旦運輸較大物料時,由于重量超過料斗的承壓能力,容易造成連接位置脫離,或料斗板件的斷裂,進而造成嚴重的安全事故。為此提供一種多斗板組件式提升機,用以解決料斗的承壓問題。
技術實現要素:
本技術的目的在于提供一種多斗板組件式提升機,以解決上述背景技術中提出的問題。
為實現上述目的,本技術提供如下技術方案:
一種多斗板組件式提升機,包括提升機外殼,所述提升機外殼的左端面下端設置有進料口,提升機外殼的左端面上端設置有驅動電機,提升機外殼的右端面上端設置有出料口,提升機外殼的內部設置有鏈輪,鏈輪的端面固定安裝有若干線性分布的料斗;
所述料斗的后端面固定安裝有基板,料斗的后端面開設有左右對稱分布的一對安裝孔,料斗的下端面設置有t形滑軌,料斗的下端面設置有鎖緊孔,料斗的下端連接直角加強斗板,所述直角加強斗板的上端面與t形滑軌相對應的位置設置有t形滑槽,直角加強斗板通過t形滑軌和t形滑槽的配合固定卡接料斗的下端面,直角加強斗板的橫向側板與縱向側板之間設置有線性分布的若干三角截面的加強板。
優選的,所述鏈輪垂直設置有在提升機外殼的內腔中,且鏈輪通過傳動帶連接驅動電機。
優選的,所述基板的前端面中間設置有縱向分布的四個第一預留孔,基板通過第一預留孔固定螺栓連接在鏈輪的外端面。
優選的,所述基板的左右端面上端設置有相互對稱的一組第二預留孔,基板通過第二預留孔和安裝孔的配合固定螺栓連接料斗的后端面。
優選的,所述基板的左右端面下端設置有第三預留孔,所述直角加強斗板的縱向側板上設置有與第三預留孔相對應的第二固定孔,直角加強斗板的后端面通過鎖緊螺栓與第二固定孔、第三預留孔的配合固定螺栓連接基板的前端面。
優選的,所述直角加強斗板的上端面設置有與鎖緊孔相對應的第一固定孔,直角加強斗板的上端面通過鎖緊孔與第一固定孔之間的配合固定螺栓連接料斗的下端面。
與現有技術相比,本技術的有益效果是:
1.本技術通過在料斗的安裝上設置基板,進而使得料斗的更換更加便捷,同時提高了料斗與鏈輪之間的安裝強度;
2.本技術通過在料斗的下端設置直角加強斗板,并通過螺栓和t形槽的配合連接,實現對料斗的支撐作用,進而提高了料斗的承壓能力,提升了料斗的承物載荷。
附圖說明

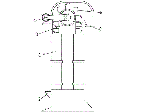
圖中:1提升機外殼、2進料口、3鏈輪、4驅動電機、5料斗、6出料口、7基板、8直角加強斗板、9鎖緊螺栓、10第一預留孔、11第二預留孔、12第三預留孔、13第一固定孔、14t形滑槽、15t形滑軌、16安裝孔、17鎖緊孔、18第二固定孔、19加強板。
具體實施方式
下面將結合本技術實施例中的附圖,對本技術實施例中的技術方案進行清楚、完整地描述,顯然,所描述的實施例僅僅是本技術一部分實施例,而不是全部的實施例。基于本技術中的實施例,本領域普通技術人員在沒有做出創造性勞動前提下所獲得的所有其他實施例,都屬于本技術保護的范圍。
本技術提供一種技術方案:
一種多斗板組件式提升機,包括提升機外殼1,在提升機外殼1的左端面下端設置進料口2,在提升機外殼1的右端面上端設置有出料口6,利用進料口2和出料口6的配合,實現物料的填裝和卸載。
提在升機外殼1的左端面上端設置驅動電機4,提升機外殼1的內部設置鏈輪3,鏈輪3垂直設置有在提升機外殼1的內腔中,利用驅動電機4帶動鏈輪3轉動,同時在鏈輪3的端面固定安裝若干線性分布的料斗5,利用料斗5和鏈輪3的配合,實現物料的上下運動。
料斗5的后端面固定安裝有基板7,在基板7的左右端面上端設置相互對稱的一組第二預留孔11,料斗5的后端面開設有左右對稱分布的一對安裝孔16,基板7通過第二預留孔11和安裝孔16的配合固定螺栓連接料斗5的后端面,實現料斗5與基板7之間的固定連接。
基板7的前端面中間設置有縱向分布的四個第一預留孔10,基板7通過第一預留孔10實現與鏈輪3的外端面之間的固定連接。
料斗5的下端設置有直角加強斗板8,料斗5的下端面設置有t形滑軌15,直角加強斗板8的上端面與t形滑軌15相對應的位置設置有t形滑槽14,直角加強斗板8通過t形滑軌15和t形滑槽14的配合,實現與料斗5下端面的固定卡接。
料斗5的下端面設置有鎖緊孔17,直角加強斗板8的上端面設置有與鎖緊孔17相對應的第一固定孔13,直角加強斗板8的上端面通過鎖緊孔17與第一固定孔13之間的配合,實現與料斗5下端面之間的固定螺栓連接。
直角加強斗板8的橫向側板與縱向側板之間設置有線性分布的若干三角截面的加強板19,利用加強板19和直角加強斗板8,實現對料斗5下端面的支撐,進而提高料斗5的承壓能力,提升料斗5的裝載載荷。
基板7的左右端面下端設置有第三預留孔12,直角加強斗板8的縱向側板上設置有與第三預留孔12相對應的第二固定孔18,直角加強斗板8的后端面通過鎖緊螺栓9與第二固定孔18、第三預留孔12的配合固定螺栓連接基板7的前端面。
工作原理:
首先基板7通過第一預留孔10實現與鏈輪3的外端面之間的固定連接,基板7通過第二預留孔11和安裝孔16的配合固定螺栓連接料斗5的后端面,實現料斗5與基板7之間的固定連接,直角加強斗板8通過t形滑軌15和t形滑槽14的配合,實現與料斗5下端面的固定卡接,直角加強斗板8的上端面通過鎖緊孔17與第一固定孔13之間的配合,實現與料斗5下端面之間的固定螺栓連接,直角加強斗板8的后端面通過鎖緊螺栓9與第二固定孔18、第三預留孔12的配合固定螺栓連接基板7的前端面,進而完成料斗5的安裝。
然后通過進料口向料斗5進料,由于料斗5的下端設置有直角加強斗板8,利用加強板19和直角加強斗板8,實現對料斗5下端面的支撐,進而提高料斗5的承壓能力,提升料斗5的裝載載荷。
盡管已經示出和描述了本技術的實施例,對于本領域的普通技術人員而言,可以理解在不脫離本技術的原理和精神的情況下可以對這些實施例進行多種變化、修改、替換和變型,本技術的范圍由所附實用要求及其等同物限定。
技術特征:
1.一種多斗板組件式提升機,包括提升機外殼(1),其特征在于:所述提升機外殼(1)的左端面下端設置有進料口(2),提升機外殼(1)的左端面上端設置有驅動電機(4),提升機外殼(1)的右端面上端設置有出料口(6),提升機外殼(1)的內部設置有鏈輪(3),鏈輪(3)的端面固定安裝有若干線性分布的料斗(5);所述料斗(5)的后端面固定安裝有基板(7),料斗(5)的后端面開設有左右對稱分布的一對安裝孔(16),料斗(5)的下端面設置有t形滑軌(15),料斗(5)的下端面設置有鎖緊孔(17),料斗(5)的下端連接直角加強斗板(8),所述直角加強斗板(8)的上端面與t形滑軌(15)相對應的位置設置有t形滑槽(14),直角加強斗板(8)通過t形滑軌(15)和t形滑槽(14)的配合固定卡接料斗(5)的下端面,直角加強斗板(8)的橫向側板與縱向側板之間設置有線性分布的若干三角截面的加強板(19)。
2.根據實用要求1所述的一種多斗板組件式提升機,其特征在于:所述鏈輪(3)垂直設置有在提升機外殼(1)的內腔中,且鏈輪(3)通過傳動帶連接驅動電機(4)。
3.根據實用要求1所述的一種多斗板組件式提升機,其特征在于:所述基板(7)的前端面中間設置有縱向分布的四個第一預留孔(10),基板(7)通過第一預留孔(10)固定螺栓連接在鏈輪(3)的外端面。
4.根據實用要求1所述的一種多斗板組件式提升機,其特征在于:所述基板(7)的左右端面上端設置有相互對稱的一組第二預留孔(11),基板(7)通過第二預留孔(11)和安裝孔(16)的配合固定螺栓連接料斗(5)的后端面。
5.根據實用要求1所述的一種多斗板組件式提升機,其特征在于:所述基板(7)的左右端面下端設置有第三預留孔(12),所述直角加強斗板(8)的縱向側板上設置有與第三預留孔(12)相對應的第二固定孔(18),直角加強斗板(8)的后端面通過鎖緊螺栓(9)與第二固定孔(18)、第三預留孔(12)的配合固定螺栓連接基板(7)的前端面。
6.根據實用要求1所述的一種多斗板組件式提升機,其特征在于:所述直角加強斗板(8)的上端面設置有與鎖緊孔(17)相對應的第一固定孔(13),直角加強斗板(8)的上端面通過鎖緊孔(17)與第一固定孔(13)之間的配合固定螺栓連接料斗(5)的下端面。
技術總結
本技術涉及提升機技術領域,具體為一種多斗板組件式提升機,包括提升機外殼,提升機外殼的左端面下端設置有進料口,提升機外殼的左端面上端設置有驅動電機,提升機外殼的右端面上端設置有出料口,有益效果為:本技術通過在料斗的安裝上設置基板,進而使得料斗的更換更加便捷,同時提高了料斗與鏈輪之間的安裝強度;通過在料斗的下端設置直角加強斗板,并通過螺栓和T形槽的配合連接,實現對料斗的支撐作用,進而提高了料斗的承壓能力,提升了料斗的承物載荷。
版權說明:如非注明,本站文章均為新鄉天太斗式提升機廠家原創,轉載請注明出處和附帶多斗板組件式提升機設計及制造技術本文鏈接。
上一篇:斗提機配重桿技術特征及實用效果

