產品導航
Product navigation
當前位置:首頁 > 技術資料 > 翻斗式粉體物料提升機設計及制造技術
翻斗式粉體物料提升機設計及制造技術
發布人:新鄉天太斗式提升機廠家 發布時間:2019-10-17
本技術屬于輸送裝置技術領域,具體涉及一種翻斗式粉體物料提升機。
背景技術:
隨著社會的發展,時代的進步,耐火材料作的應用越來越廣泛,市場上流通的耐火材料一般為粉體狀的,在粉狀耐火材料裝料過程中,需要將粉狀耐火材料進行進一步地檢測分料粒度是否符合要求,同時將符合要求的粉體物料放入裝袋料倉,目前常用的工藝手段是將粉體物料先通過濾網過濾,之后將過濾完的粉體物料通過提升機傳送至料倉,傳統的工藝手段不省時不省力,在生產過程中至少需要兩個操作工人完成這兩步操作;同時帶式輸送粉體物料會因為輸送帶的振動造成粉體物料的掉落和揚塵,造成浪費。
技術實現要素:
鑒于此,本技術提供一種翻斗式粉體物料提升機,采用斗式提升方式,在放入斗式提升機前設置濾網,將不符合需求粒度大小粉料自動排除在外,省時省力。
為了達到上述目的,本技術是通過以下技術方案實現的:
本技術提供一種翻斗式粉體物料提升機,包括支架、導軌、提升料斗、地下空腔、電機和多個滑輪,所述支架呈方框型、且豎直固定設置在地面上,導軌斜向下固定設置,支架頂部固定連接導軌一端,導軌另一端固定連接于地下空腔下部,所述導軌有兩個,兩個導軌的導槽平行且相對設置,所述提升料斗為截面為梯形的箱狀結構,提升料斗斜側面設有前導軌輪,前導軌輪置于導軌導槽中,提升料斗斜側面設有提升滑輪,支架頂部設有第一滑輪,導軌與地平面交匯處的地面固定設有第二滑輪,電機固定設于地面上方,電機輸出端設有線盤,線盤纏繞有線纜,線纜依次繞過第二滑輪、第一滑輪和提升滑輪之后固定連接在支架頂部,所述提升料斗下端鉸接有底盤,底盤下端、靠近導軌一側設有后導軌輪,后導軌輪置于導軌導槽中。
進一步地,所述導軌上開設有豁口,豁口長度大小大于后導軌輪直徑。
進一步地,所述提升機還包括料倉,料倉設有滑道,滑道斜向設置,滑道頂端位于導軌豁口下方,滑道末端連通至料倉。
進一步地,所述提升料斗主箱體為上下通透,下部鉸接底盤,鉸接處位于提升料斗直側面一側。
進一步地,所述底盤呈簸箕狀,底盤寬度大于提升料斗下部寬度。
進一步地,所述提升料斗上部設有濾網。
進一步地,所述地下空腔形狀與提升料斗外形一致。
進一步地,所述底盤下方固定設有支腳。
本技術提供一種翻斗式粉體物料提升機,具有如下有益效果:
本技術提供一種翻斗式粉體物料提升機,采用斗式提升方式,在放入斗式提升機前設置濾網,將不符合需求粒度大小粉料自動排除在外,省時省力。
附圖說明

具體實施方式
為使本技術實施例的目的、技術方案和優點更加清楚,下面將結合本技術實施例中的附圖,對本技術實施例中的技術方案進行清楚、完整地描述,顯然,所描述的實施例是本技術一部分實施例,而不是全部的實施例。基于本技術中的實施例,本領域普通技術人員在沒有做出創造性勞動前提下所獲得的所有其他實施例,都屬于本技術保護的范圍。
依照以下的附圖詳細說明關于本技術的示例性實施例。

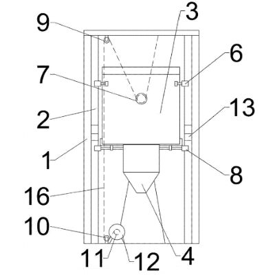
圖中序號所代表的含義為:1-支架,2-導軌,3-提升料斗,4-料倉,5-地下空腔,6-前導軌輪,7-提升滑輪,8-后導軌輪,9-第一滑輪,10-第二滑輪,11-線盤,12-電機,13-豁口,14-底盤,15-支腳,16-線纜,17-濾網。
以下結合具體情況說明本技術的示例性實施例:
如圖1、圖2、圖3所示,本技術提供一種翻斗式粉體物料提升機,包括支架1、導軌2、提升料斗3、地下空腔5、電機12和多個滑輪,所述支架1呈方框型、且豎直固定設置在地面上,導軌2斜向下固定設置,支架1頂部固定連接導軌2一端,導軌2另一端固定連接于地下空腔5下部,所述導軌2有兩個,兩個導軌2的導槽平行且相對設置,所述提升料斗3為截面為梯形的箱狀結構,提升料斗3斜側面設有前導軌輪6,前導軌輪6置于導軌2導槽中,提升料斗3斜側面設有提升滑輪7,支架1頂部設有第一滑輪9,導軌2與地平面交匯處的地面固定設有第二滑輪10,電機12固定設于地面上方,電機輸出端設有線盤11,線盤11纏繞有線纜16,線纜16依次繞過第二滑輪10、第一滑輪9和提升滑輪7之后固定連接在支架1頂部,所述提升料斗3下端鉸接有底盤14,底盤14下端、靠近導軌2一側設有后導軌輪8,后導軌輪8置于導軌2導槽中。
進一步地,所述導軌2上開設有豁口13,豁口13長度大小大于后導軌輪8直徑。
進一步地,所述提升機還包括料倉4,料倉4設有滑道,滑道斜向設置,滑道頂端位于導軌豁口13下方,滑道末端連通至料倉4。
進一步地,所述提升料斗3主箱體為上下通透,下部鉸接底盤14,鉸接處位于提升料斗3直側面一側。
進一步地,所述底盤14呈簸箕狀,底盤14寬度大于提升料斗3下部寬度。
進一步地,所述提升料斗3上部設有濾網17。
進一步地,所述地下空腔5形狀與提升料斗3外形一致。
進一步地,所述底盤14下方固定設有支腳15。
請參考圖4,圖4為本技術提升料斗卸料狀態下的結構示意圖;本技術工作時,電機12轉動,線盤11開始主動纏繞線纜16,通過滑輪組作用,提升料斗3沿導軌2向上移動,由于前導軌輪6與提升滑輪7的距離較近,提升滑輪7受到斜向上的牽引力,前導軌輪6在經過豁口13時不會進入豁口13;由于提升料斗3自重,后導軌輪8對導軌2的施力方向為總體向下,后導軌輪8在經過豁口13時,進入豁口13,提升料斗3在電機12及線纜16作用下繼續向上運動,底盤14緩緩打開,提升料斗3內部物料通過底盤14和滑道進入料倉。
最后,還需要說明的是,在本文中,諸如第一和第二等之類的關系術語僅僅用來將一個實體或者操作與另一個實體或操作區分開來,而不一定要求或者暗示這些實體或操作之間存在任何這種實際的關系或者順序。而且,術語“包括”、“包含”或者其任何其他變體意在涵蓋非排他性的包含,從而使得包括一系列要素的過程、方法、物品或者設備不僅包括那些要素,而且還包括沒有明確列出的其他要素,或者是還包括為這種過程、方法、物品或者設備所固有的要素。在沒有更多限制的情況下,由語句“包括一個……”限定的要素,并不排除在包括所述要素的過程、方法、物品或者設備中還存在另外的相同要素。
以上應用了具體個例對本技術的原理及實施方式進行了闡述,以上實施例的說明只是用于幫助理解本技術的方法及其核心思想;同時,對于本領域的一般技術人員,依據本技術的思想,在具體實施方式及應用范圍上均會有改變之處,綜上所述,本說明書內容不應理解為對本技術的限制。
1.一種翻斗式粉體物料提升機,其特征在于,包括支架、導軌、提升料斗、地下空腔、電機和多個滑輪,所述支架呈方框型、且豎直固定設置在地面上,導軌斜向下固定設置,支架頂部固定連接導軌一端,導軌另一端固定連接于地下空腔下部,所述導軌有兩個,兩個導軌的導槽平行且相對設置,所述提升料斗為截面為梯形的箱狀結構,提升料斗斜側面設有前導軌輪,前導軌輪置于導軌導槽中,提升料斗斜側面設有提升滑輪,支架頂部設有第一滑輪,導軌與地平面交匯處的地面固定設有第二滑輪,電機固定設于地面上方,電機輸出端設有線盤,線盤纏繞有線纜,線纜依次繞過第二滑輪、第一滑輪和提升滑輪之后固定連接在支架頂部,所述提升料斗下端鉸接有底盤,底盤下端、靠近導軌一側設有后導軌輪,后導軌輪置于導軌導槽中。
2.根據實用要求1所述的翻斗式粉體物料提升機,其特征在于,所述導軌上開設有豁口,豁口長度大小大于后導軌輪直徑。
3.根據實用要求2所述的翻斗式粉體物料提升機,其特征在于,所述提升機還包括料倉,料倉設有滑道,滑道斜向設置,滑道頂端位于導軌豁口下方,滑道末端連通至料倉。
4.根據實用要求1所述的翻斗式粉體物料提升機,其特征在于,所述提升料斗主箱體為上下通透,下部鉸接底盤,鉸接處位于提升料斗直側面一側。
5.根據實用要求4所述的翻斗式粉體物料提升機,其特征在于,所述底盤呈簸箕狀,底盤寬度大于提升料斗下部寬度。
6.根據實用要求1所述的翻斗式粉體物料提升機,其特征在于,所述提升料斗上部設有濾網。
7.根據實用要求1所述的翻斗式粉體物料提升機,其特征在于,所述地下空腔形狀與提升料斗外形一致。
8.根據實用要求1所述的翻斗式粉體物料提升機,其特征在于,所述底盤下方固定設有支腳。
技術總結
本技術屬于輸送裝置技術領域,具體涉及一種翻斗式粉體物料提升機,包括支架、導軌、提升料斗、地下空腔、電機和多個滑輪,所述支架呈方框型、且豎直固定設置在地面上,導軌斜向下固定設置,所述導軌有兩個,兩個導軌的導槽平行且相對設置,所述提升料斗為截面為梯形的箱狀結構,提升料斗斜側面設有前導軌輪和提升滑輪,前導軌輪置于導軌導槽中,支架頂部設有第一滑輪,導軌與地平面交匯處的地面固定設有第二滑輪,電機固定設于地面上方,電機輸出端設有線盤,線盤纏繞有線纜,線纜依次繞過第二滑輪、第一滑輪和提升滑輪之后固定連接在支架頂部,所述提升料斗下端鉸接有底盤,底盤下端、靠近導軌一側設有后導軌輪,后導軌輪置于導軌導槽中。本技術采用斗式提升方式,在放入斗式提升機前設置濾網,將不符合需求粒度大小粉料自動排除在外,省時省力。
版權說明:如非注明,本站文章均為新鄉天太斗式提升機廠家原創,轉載請注明出處和附帶翻斗式粉體物料提升機設計及制造技術本文鏈接。

